【CNMO科技消息】4月8日,有外媒报道称,苹果一直在研究如何打造一款可自定义的Apple Vision Pro,用户可根据自身需求变化,更换电池、头显框架及更多组件。

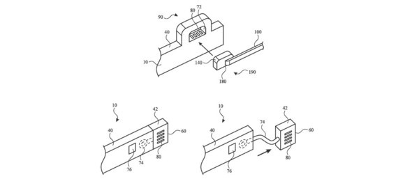
据苹果的一项新授权专利——“可连接配件的头戴式设备”,其核心思路是:Apple Vision Pro的主机本体“无需集成用户未来可能需要的所有永久性功能组件。取而代之的是,头戴式设备可通过一个或多个配件实现功能扩展与自定义。用户可在不同场景下,便捷地连接配件或外部设备,以获得不同组件与功能。
据CNMO了解,未来Apple Vision Pro很可能支持按需定制、随时更换组件的模式。专利提到:“同一用户在不同场景下可能需要不同功能。例如,用户在家时希望使用高分辨率屏幕,外出时则更看重长续航”。

相关报道
外媒猜测,苹果不太可能随机附赠一套低分辨率屏幕供用户替换,以提升Apple Vision Pro的续航。因此所谓组件更换,大概率是以付费配件形式单独发售。目前,Apple Vision Pro尚未推出类似“Made for iPhone”的第三方配件认证体系。若后续维持现状,苹果可能仅推出官方配件,如同iPad的智能接口生态。

无论是否仅限苹果官方配件,模块化设计都意味着未来Apple Vision Pro将以一个主体框架为核心,外接各类不同组件。专利中的多张设计图也展示了设备与主体框架的多种连接方式。